中國最專業、最具規模的信用評級機構之一。 業務包括對多邊機構、國家主權、地方政府、金融企業、非金融企業等各類經濟主體的評級,對上述經濟主體發行的固定收益類證券以及資產支持證券等結構化融資工具的評級,以及債券投資咨詢、信用風險咨詢等其他業務。
作者:X編輯
來源:雷達財經(ID:leidacj)
繼世茂工三后,賈躍亭的另一處重資產樂融大廈拍賣在即。
阿里拍賣信息顯示,樂融大廈起拍價5.73億元,評估價8.18億元,將于9月9日上午10點開拍,競價周期為1天,目前已有近30萬人圍觀。相比兩年前,拍賣價格降了一個億。
緊隨其后即將在9月11日拍賣的,是賈躍亭持有樂視網信息技術(北京)股份有限公司(原樂視網退市后到三板市場交易,下稱“樂視網3”)約1.2億股的股票和其哥哥賈躍民所持有的樂視網3總計2000萬股的股票,起拍價合計超1.59億元。
雷達財經注意到,與賈躍亭和他的樂視網3所背負的巨額債務相比,拍賣所獲得的現金流可謂杯水車薪。8月30日樂視網3發布的財報顯示,截至2021年上半年,公司現有資產合計40.21億元,總負債216.38億元,資產負債率高達538.13%。而據天眼查,僅2021年賈躍亭被執行金額就超67億元。
在憑借樂視網3自身運營、變賣資產還債遙遙無期的背景下,目前擺在賈躍亭面前的似乎只剩下造車還債這個選擇。然而其創立的法拉第未來(下稱“FF”)自7月底通過SPAC上市后,至今股價跌幅已超34%。
01
時隔兩年再拍賣樂融大廈,降價1億
拍賣信息顯示,樂融大廈坐標北京市朝陽區姚家園路105號3號樓1-14層不動產,所有人為北京宏城鑫泰置業有限公司(下稱“宏城鑫泰”)。
據了解,2014年的樂視正處于高速擴張狀態,公司不僅在年內陸續推出樂視手機、樂視體育等業務,還啟動了超級汽車的“SEE計劃”,準備向造車邁進。
此時,大規模增長的員工亟需找到新的辦公地點。于是賈躍亭便從八大處控股集團總經理張景明那里買下了北京宏城鑫泰大廈,后更名為樂視大廈。
然而沒過多久,樂視就爆發了資金鏈危機,樂視大廈也就此淪為了用來換取資金的籌碼。
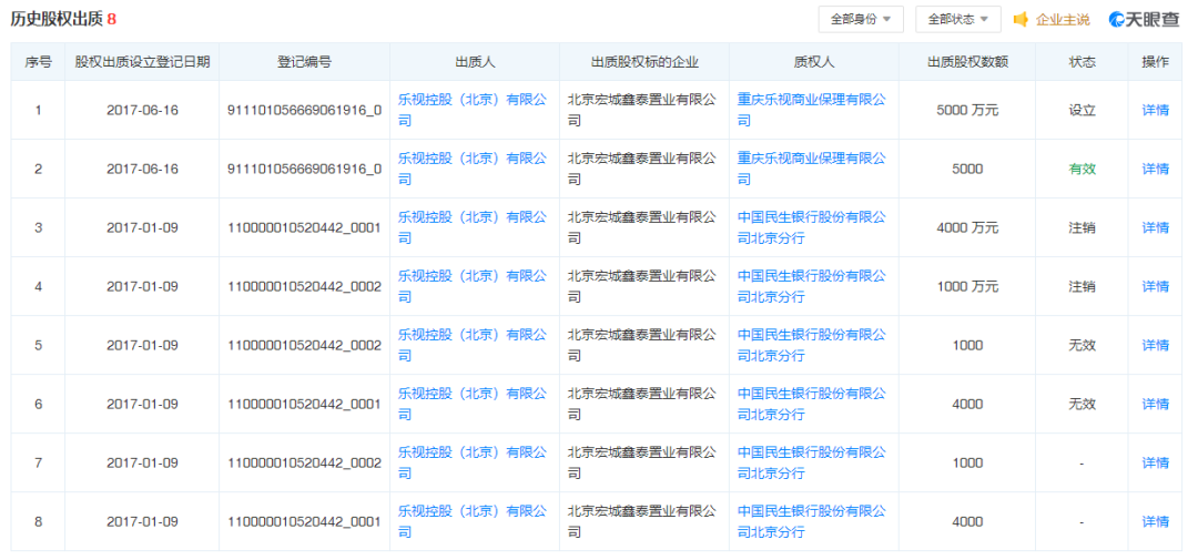
2016年,樂視大廈被作為地產資產拿去質押,從浙江中泰創展企業管理有限公司(下稱“中泰創展”)處換取了14億元融資,期限為兩年,年利率8%;2017年,樂視大廈的股權還曾被質押給重慶樂視商業保理有限公司、中國民生銀行股份有限公司北京分行。

值得一提的是,與孫宏斌幾乎同時出現的“接盤俠”,還包括當初將樓賣給賈躍亭的張景明。2017年,樂視汽車曾將80%股份質押給北京銀葉金宏投資合伙企業,后者實控方為張景明的八大處控股集團。
據騰訊財經報道,張景明之所以愿意接盤,主要是基于雙方多年打交道的信任,以及賈躍亭向八大處許諾了高回報,主要為股權+現金回報,而且雙方很可能已經簽下了對賭協議。同時,賈躍亭還可能私下許諾一部分樂視體育或樂視移動的股權。
然而,最終孫宏斌沒能成功救活樂視。2019年,樂視大廈第一次被拍賣,起拍價6.78億元,當初出借14億的中泰創展則成了該拍賣的申請執行人。
相關執行裁定書顯示,中泰創展曾要求樂視網3從樂融大廈騰退,以進行后續該房產的拍賣。但這次拍賣卻因案外人對拍賣財產提出異議被叫停。
如今,該大廈再次被掛出拍賣,據天眼查,2021年7月13日,宏城鑫泰新添一起被執行案例,執行標的14.13億元,申請人為中泰創展。但目前大廈的起拍價已降至5.73億元,較兩年前縮水幅度超1億元。
連續變賣資產,仍難解債務危機
今年年初,賈躍亭夫婦價值3000萬的房產曾被強制拍賣用于還款。
據悉,世茂工三為甲級寫字樓,被樂視在2016年以近30億元的價格買下。為解決資金危機,樂視曾試圖報價40億賣給萬科,遭到拒絕后便開始了拍賣之路。
此外,在樂融大廈拍賣競價周期結束一天后,賈躍亭和賈躍民在樂視網3合計1.4億股的股票也被擺上“貨柜”。

樂視網3半年報顯示,截至6月30日,賈躍亭持股數為8.98億股,持股比例22.52%;賈躍民持股數2451.34萬股,持股比例0.61%。若兩人股份被成功拍賣,持股數量將分別降至7.78億股、451.34萬股。
值得注意的是,2021年5月,賈躍民持有的265萬股樂視網3無限售流通股曾以139.32萬元的價格被拍賣,而這部分股票的起拍價僅36萬元。
據此計算,上述包括股權、地產在內的三項資產可能將為樂視回流超過25億元的資金,但顯然,這還不足以彌補公司龐大的負債總額。
2021年春節前,樂視視頻曾因在App上標注“欠122億”引發廣泛關注,彼時樂融致新CEO張巍在接受采訪時稱此舉為“自嘲”,并表示“122億確實也不是樂視視頻欠款精確的金額,因為樂視網還在老三板上市,具體的欠款金額要以樂視網3公布的年報為準。”
而根據不久前樂視網3發布的半年報,公司在2021年上半年實現營收1.96億元,凈虧損1.86億元。公司的負債總額已從2020年底的213.71億元升至目前的216.38億元,歸屬于掛牌公司股東的凈資產約-170.53億元。
另據天眼查,樂視控股僅2021年的被執行總金額就超38億元,公司總計擁有307條被執行人信息,歷史上總計被出具238條限制消費令;賈躍亭2021年的被執行總金額則超67億元。

03
FF上市后股價跌超三成
2021年7月22日,FF正式在納斯達克掛牌上市,賈躍亭本人也出現在敲鐘現場,他還試乘了FF 91,并通過直播的方式介紹了產品。當被現場記者問及是否有打算回國時,賈躍亭回答:“必須的”。
“我們的第一階段目標是要在12個月內把FF 91 Futurist Alliance Edition(FF 91未來主義者聯盟版)按時,高品質,高產品力地交付到全球塔尖用戶手中,實現對S邁巴赫,法拉利,賓利等傳統超奢華汽車品牌的顛覆。”在微博中,賈躍亭毫不掩飾自己對FF產品的自信。
而在上市之后,FF更是“捷報頻傳”,賈躍亭的微博也逐漸變得活躍起來。上市次日,FF就向身處洪澇災情的河南捐款一百萬元;過了不到一周,賈躍亭透露,面向全球極少數塔尖用戶開放的300臺邀約制限量版FF 91已售罄。
上市一個月后,FF 91在美國完成了3653公里的長距離道路測試,據悉,這次測試包括長距離實際路面測試以及電池和動力總成部件的耐久性測試。
與此同時,還有媒體報道稱:“FF旗下法法汽車已在珠海聯合辦公場所內辦公,但沒有對外展示公司名稱及門牌信息,且無任何信息指引。FF珠海公司負責人稱:FF在上市融資后公司已有足夠運營資金,并且與當地國資的合作仍在繼續,未來FF將在中國多個城市運營。”
不過,盡管FF方面持續放出利好,但公司股價仍止不住頹勢。美東時間9月7日,FFIE單日跌15.31%,自上市次日起至今已跌超34%,市值較上市后最高點蒸發近19億美元。
此外,公司在未來可見的一段時間內,仍將維持無法量產整車且不斷燒錢的局面。
一方面,FF在招股書中提及,公司2019-2020年的凈虧損累計為2.89億美元,預計虧損將持續至2023年,未來三年的累計虧損金額達12.17億美元。
另一方面,FF自成立至今已有7年,與其相同年份創立的蔚來早在2017年就已下線整車,比其成立晚的小鵬和理想也如是。
國內代工廠本應和珠海國資委共同出資建設,但公司與珠海國資合作的動向一直撲朔迷離。雖然8月9日有接近行業的人士在FFIE的客戶端論壇發帖稱FF已落戶珠海橫琴,但在FF上市前向美國證監會提交的文件中,卻提到原定出資1.75億元的基石投資人不會入股。后經多方確認,該投資人即為珠海國資。
FF還面臨市場對其高端化路線的質疑,一些行業人士對其在美國28萬美元,在中國280萬元的售價行情并不看好。
注:文章為作者獨立觀點,不代表資產界立場。
題圖來自 Pexels,基于 CC0 協議
本文由“雷達Finance”投稿資產界,并經資產界編輯發布。版權歸原作者所有,未經授權,請勿轉載,謝謝!
原標題: 賈躍亭資產又雙叒要被拍賣了!

雷達Finance 











