專注企業債務紓困與價值重組的實戰筆記?服務銀行、AMC、政府平臺及民營企業?涅槃貸 3.0 開創踐行者?以 “鐵算盤、鐵賬本、鐵規章” 重塑信用。
作者:W=T=T
來源:風財訊
當前無論土地市場還是樓市,“國字頭”玩家毫無疑問是主角,在某些城市它們甚至能包攬所有角色。但也正因如此,現在還能“逆襲沖榜”的民營企業,值得引起關注。
例如在2026年1月全國操盤銷售額TOP100的房企中,來自青島的和達置業(下稱和達集團),就以4.7億元的銷售額沖進第63名,首次進入全國百強,并超過了合肥城建、香印城建等一大批“城建”類地產國企。

“詭異”三強背后
“掉價最狠樓盤”被割肉收購?
實際上,在青島本地1月房企銷售業績排行榜上,和達集團同樣驚艷,位列第二。只不過,同時登榜TOP3的還有融創、綠城,這讓大家產生了疑惑。

“了解青島市場的人都知道,這三家房企在青島的在售項目很少,它們竟然排名前三,堪稱詭異的一幕。”一位青島資深地產人士表示,樓市光看數據是不行的。
這背后,鳳凰網風財訊注意到,2月28日,青島發布了最新“配售型保障性住房”配售選房通告,涉及和達·智慧生態城璞園和瑾園的85套房源;2025年11月22日,青島市住建局啟動全省首個“收購存量房作保障房”項目,收購對象是和達·智慧生態城玥園和瑜園的88套存量商品房。

“政府出手”似乎為和達·智慧生態城沖量去庫存,提供了極大的助力。不過資料顯示,和達·智慧生態城被收購的房源配售基準價分別為4402元/平方米和4946元/平方米。而該樓盤在各大網站的標價為在售15000元/平方米。
沖量背后是否價格“割肉”了呢?上述青島業內人士并不這么認為,其指出,和達智慧生態城一度被稱為“青島城陽房價掉最狠的小區”之一。比如小區2020年時80㎡-90㎡中間戶房源普遍售價在130萬-140萬,有些工抵房賣120萬;2023年同戶型現房就已經只賣80萬了,還不是很好賣。這種情況下,政府能介入已經算好的。
“畢竟和達智慧生態城在青島城陽區的夏莊板塊,不屬于市區,位置較偏,環境不錯但學區等很多配套待完善,去化慢。”上述業內人認為,和達過去三年雖發展艱難但還是開展了十多個項目的交付,相比一些早已躺平的青島老牌房企,已經算負責的了。
和達控股一年欠稅數百萬
集中轉讓股權給子公司“換殼”?
資料顯示,和達智慧生態城由青島和達金時代置業有限公司和青島和達信德置業有限公司建設,這兩家公司仍由“和達控股集團”控股。
但鳳凰網風財訊注意到,和達集團在2025年集中退出了8家子公司,接盤公司則充滿“空殼”跡象。

例如,青島和達創時代置業有限公司、青島和達創世紀置業有限公司,都在2025年4月7日左右轉讓給了青島炎晟坤輿科技投資有限公司,該公司成立于2025年3月27日,僅比接盤時間早11天。
青島和達置地有限公司則在2025年6月11日,轉讓給了成立于當年4月28日的青島圭泓再生資源有限公司及子公司,注冊資本10萬,股東為徐國際、徐國立。
青島和達金控發展有限公司、青島和達資產管理有限公司、青島和達創智投資有限公司、連云港格旭信息科技有限公司、青島和達城市發展有限公司也均在2025年被轉讓給多家當年成立的新公司。
不同尋常的是,這些新公司,成立時間短、注冊資金少(8萬-10萬)、股東均為自然人,并且它們在短時間成立后,集中快速接盤了和達控股旗下8家子公司。
“不排除這些公司只是殼,接收和達公司還有價值的土地或其它資產,母公司則承接債務、應對訴訟或尋找新買家。有些老板為了‘債務和資產隔離’會這么操作。”
一位從事房企破產重組的律師指出,如此操作讓糾紛只鎖定在舊主體內、新成立的公司輕裝上陣,結果是當公司宣布“主體暴雷”,或許最后投資人、購房者才發現它早就沒什么可執行的資產了,核心項目都已經被轉移走了。
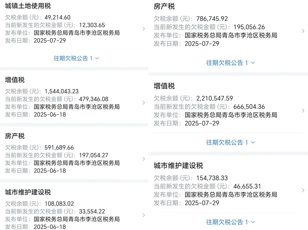
天眼查顯示,和達控股集團有限公司目前存在96項被告司法糾紛;2025年內立案標的的被執行總金額近7200萬元;僅2025年內的公告欠稅額就高達704萬元(含土地使用稅、房產稅、增值稅、城市維護建設稅等),的確風險不少。

從專攻“巨無霸”到多項目延期擱淺
徐兆波的野心與難題
和達集團創始人為徐兆波,其1993年在青島李滄區成立“青島李滄順達工貿有限公司”,后更名為“青島和達建筑安裝有限公司”開始從事建筑安裝、土石方工程,算一只腳踏進了房地產行業。
憑借夠吃苦,徐兆波在早期啃下了青島大量的市政基礎項目的參建機會,包括膠州灣跨海大橋、膠州灣隧道、青島膠東國際機場高速等。2004年,徐兆波成立和達置業,正式殺入地產開發,專攻城鄉結合部的“巨無霸”項目。尤其是2007年“青島李滄東部片區首個生態居住大盤”讓和達一戰成名。
2012年徐兆波又拿下了市北區新都心和達中心城(超百萬方綜合體),開辟資產運營新航道。2022年和達正式更名為“和達控股集團有限公司”希望實現多元化發展。從住宅進軍到商業,再到物流園區(和華科技物流小鎮)、VR產業(青島國際虛擬現實產業園)。
不過在行業調整周期,無論哪種業態都面臨巨大難度。住宅方面,領導留言板信息顯示,和達智慧生態城、和達北岸、和達虹灣等和達集團在青島城陽區的項目,曾一度面臨工程進度緩慢、項目停工、延期或無法交房等困境。

例如,青島熱搜上就有市民投訴“和達智慧生態城幼兒園停工”,青島市教育局調查表示,該幼兒園因建設單位資金緊張處于停工狀態,教育部門將督促企業籌集資金盡快復工、完工。
商業領域,和達集團曾經拿下青島秦嶺路17號的核心地段,規劃打造被稱為“青島曼哈頓”的總部地標項目。但項目2020年就公示了規劃,至今卻沒有建設進展,甚至項目旁邊的“青島財富金融綜合創新中心”今年都快交付了,和達的秦嶺路17號項目始終“巋然不動”。
值得一提的是,該項目所屬的青島和達順成投資管理有限公司(原名青島三青房地產開發有限公司)的母公司青島和達資產管理有限公司已經在2025年中被轉讓給了同年成立的新公司“青島玄鑒安全管理咨詢有限公司”。
只不過,這到底是將地標項目拱手相讓,還是老板的“左手倒右手”和責任逃避;徐兆波的野心能否解決擺在眼前的重重難題,都還需要市場和時間的回答。
來源丨鳳凰網風財訊
作者丨W=T=T
版權丨鳳凰網房產風財訊
主編|王婷婷
注:文章為作者獨立觀點,不代表資產界立場。
題圖來自 Pexels,基于 CC0 協議
本文由“風財訊”投稿資產界,并經資產界編輯發布。版權歸原作者所有,未經授權,請勿轉載,謝謝!

風財訊 











